SITE INTERNET 100% FRANÇAIS / PARTICULIERS & PROFESSIONNELS 

Brush set, Lucas 25629A, 25629E, 25634A, 25756A, 27466A
  • Brush set, Lucas 25629A, 25629E, 25634A, 25756A, 27466A
  • Brush set, Lucas 25629A, 25629E, 25634A, 25756A, 27466A

Brush set, Lucas 25629A, 25629E, 25634A, 25756A, 27466A

LASX43-442

BROOMS/COAL - LUCAS

€9.59
VAT included
€7.99 VAT excluded
LIVRAISON 24/48H
Quantity
EN STOCK - LIVRAISON 24/48H

Order now and receive it...

tomorrow  with  TRAITEMENT PRIORITAIRE : Express à domicile J+1 avant 13h

between tomorrow and 03/04/2026  with  UPS - Domicile / Entreprise

between tomorrow and 03/04/2026  with  DPD

between 02/04/2026 and 06/04/2026  with  UPS - Pick up Europe

between 02/04/2026 and 06/04/2026  with  UPS - Relais Pick Up

between 02/04/2026 and 07/04/2026  with  Livraison vers des relais Pickup en France et en Europe

 

 

  Delivery policy

(edit with the Customer Reassurance module)

  Security policy

(edit with the Customer Reassurance module)

  Return policy

(edit with the Customer Reassurance module)

Description

FEATURES:

Electrical Specifications
Voltage     12

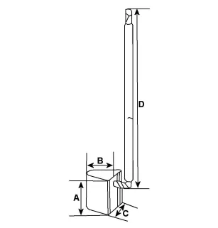
Physical Specifications
A     Length mm     17.50
B     Thickness mm     4.70/10.30
C     Height mm     13.30
D     Cable Length 2 mm     53.50
D     Cable Length mm     109.00

More Information
For     M100

REPLACES THE FOLLOWING REFERENCES:

Ika: 0.1619.1, 0.1628.1.
Bosch: 1917000363.
Lucas: 54243725, 54246258, SCON.LASX-43-44, TAB124.
Waiglobal: 68-9200.
Cargo: LASX43-44, LASX43442.
Krauf: SHL3442.
Mario Ghibaudi: SLASX-43-44.

COMPATIBLE WITH THE FOLLOWING STARTERS:

Lucas: 25629A, 25629E, 25634A, 25634E, 25638A, 25638E, 25642A, 25642F, 25643A, 25643J, 25644A, 25644K, 25647A, 25647L, 25648, 25648A, 25648K, 25649A, 25649L, 25650A, 25650E, 25651A, 25651B, 25652A, 25652E, 25653A, 25653E, 25654A, 25654H, 25657A, 25657E, 25662A, 25662E, 25666A, 25666D, 25667A, 25667D, 25674A, 25674E, 25675A, 25675D, 25684, 25684A, 25684H, 25684J, 25685A, 25685E, 25686A, 25686H, 25687A, 25687L, 25688A, 25688E, 25689A, 25689J, 25690A, 25690D, 25691A, 25691K, 25692A, 25692J, 25693A, 25693F, 25695A, 25695F, 25698A, 25698K, 25703A, 25703E, 25704A, 25704D, 25705A, 25705D, 25706A, 25706D, 25707A, 25707D, 25709A, 25709D, 25710A, 25710D, 25711A, 25711D, 25712A, 25712H, 25714A, 25714D, 25716A, 25716H, 25717A, 25717D, ​​25718A, 25718D, 25720A, 25720D, 25721A, 25721D, 25722A, 25722D, 25728, 25728A, 25728D, 25729A, 25729D, 25730A, 25730D, 25731A, 25731D, 25732A, 25732B, 25732E, 25733A, 25733E, 25734A, 25734D, 25735A, 25735E, 25739A, 25739D, 25742, 25742A, 25743A, 25743D, 25749A, 25750A, 25754A, 25755, 25755A, 25756, 25756A, 27466A.

Product Details
LASX43-442
New

Data sheet

Tension
12 Volts

Specific References

UPC
400000142609
EAN13
4000000142539