SITE INTERNET 100% FRANÇAIS / PARTICULIERS & PROFESSIONNELS 

Juego de cepillos, Mitsubishi M001T50171, M002T52871, M002TS0575
  • Juego de cepillos, Mitsubishi M001T50171, M002T52871, M002TS0575
  • Juego de cepillos, Mitsubishi M001T50171, M002T52871, M002TS0575

Juego de cepillos, Mitsubishi M001T50171, M002T52871, M002TS0575

140709

CEPILLOS/CARBONO - MITSUBISHI

11,40 €
Impuestos incluidos
9,50 € Impuestos excluidos
LIVRAISON 24/48H
Cantidad
EN STOCK - ENTREGA 24/48 HORAS

Haga su pedido ahora y recíbelo...

mañana  con  TRAITEMENT PRIORITAIRE : Express à domicile J+1 avant 13h

entre mañana y 2/4/26  con  UPS - Domicile / Entreprise

entre mañana y 2/4/26  con  DPD

entre 1/4/26 y 3/4/26  con  UPS - Pick up Europe

entre 1/4/26 y 3/4/26  con  UPS - Relais Pick Up

entre 1/4/26 y 6/4/26  con  Livraison vers des relais Pickup en France et en Europe

 

 

  Política de entrega

(editar con el módulo de Información de seguridad y confianza para el cliente)

  Política de seguridad

(editar con el módulo de Información de seguridad y confianza para el cliente)

  Política de devolución

(editar con el módulo de Información de seguridad y confianza para el cliente)

Descripción

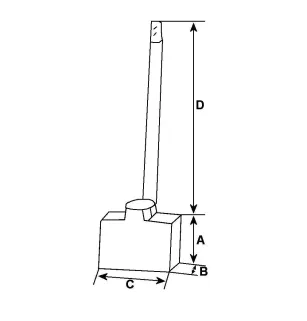
CARACTERÍSTICAS:

Especificaciones eléctricas
Voltaje     12

Especificaciones físicas
A     Longitud mm     14,00
B     Espesor mm     7,00
C     Altura mm     12,00
D     Longitud del cable mm     29,30

SUSTITUYE LAS SIGUIENTES REFERENCIAS:
\ { 004} Revista: SHM0709.

COMPATIBLE CON LOS SIGUIENTES ARRANCADORES:

Mitsubishi: M001T50171, M002T52871, M002TS0575, M1T50171, M2T52871, M2TS0575.

Detalles de producto
140709
Nuevo

Ficha de datos

Tensión
12 Volts

Referencias específicas

upc
400000054025
ean13
4000000053958