SITE INTERNET 100% FRANÇAIS / PARTICULIERS & PROFESSIONNELS 

Juego de cepillos, Ford D80F11001AA, E1AF11001BA
  • Juego de cepillos, Ford D80F11001AA, E1AF11001BA
  • Juego de cepillos, Ford D80F11001AA, E1AF11001BA

Juego de cepillos, Ford D80F11001AA, E1AF11001BA

140548

CEPILLOS / CARBÓN

22,53 €
Impuestos incluidos
18,78 € Impuestos excluidos
LIVRAISON 24/48H
Cantidad
EN STOCK - ENTREGA 24/48 HORAS

Haga su pedido ahora y recíbelo...

mañana  con  TRAITEMENT PRIORITAIRE : Express à domicile J+1 avant 13h

entre mañana y 2/4/26  con  UPS - Domicile / Entreprise

entre mañana y 2/4/26  con  DPD

entre 1/4/26 y 3/4/26  con  UPS - Pick up Europe

entre 1/4/26 y 3/4/26  con  UPS - Relais Pick Up

entre 1/4/26 y 6/4/26  con  Livraison vers des relais Pickup en France et en Europe

 

 

  Política de entrega

(editar con el módulo de Información de seguridad y confianza para el cliente)

  Política de seguridad

(editar con el módulo de Información de seguridad y confianza para el cliente)

  Política de devolución

(editar con el módulo de Información de seguridad y confianza para el cliente)

Descripción

ESPECIFICACIONES:

Especificaciones eléctricas
Voltaje     12

Especificaciones físicas
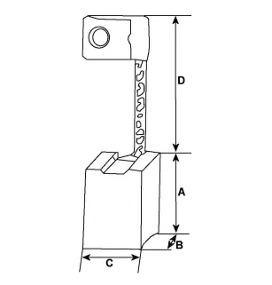
A     Longitud mm     13,00
B     Espesor mm     8,80
C     Alto mm     19,20
D     Longitud del cable 2 mm     38,50
D     Longitud del cable mm     76,00

REEMPLAZA LAS SIGUIENTES REFERENCIAS:

Waiglobal: 68-206, 68-207, 68-207-1, 68-207-1-Q25, 68-208, 68-208-1, 68-209, 68-209-1, 68206.
Jeep: 83500401, 83500402.
Ford: D7AZ11057A, D8AF11055BA, D8AF11056AA, E2BF11056AA, E4FF11055AA.
Krauf: SHF0548.

COMPATIBLE CON LOS SIGUIENTES ARRANCADORES:

Ford: D80F11001AA, E1AF11001BA.

Detalles de producto
140548
Nuevo

Ficha de datos

Tensión
12 Volts

Referencias específicas

upc
400000053813
ean13
4000000053743