SITE INTERNET 100% FRANÇAIS / PARTICULIERS & PROFESSIONNELS 

  • ¡En oferta!
EX85-862/1 Juego de cepillos de 12 voltios, PRESTOLITE MDL-1063S, MDL2012CS, Krauf SHP8621
  • EX85-862/1 Juego de cepillos de 12 voltios, PRESTOLITE MDL-1063S, MDL2012CS, Krauf SHP8621
  • EX85-862/1 Juego de cepillos de 12 voltios, PRESTOLITE MDL-1063S, MDL2012CS, Krauf SHP8621
  • EX85-862/1 Juego de cepillos de 12 voltios, PRESTOLITE MDL-1063S, MDL2012CS, Krauf SHP8621

EX85-862/1 Juego de cepillos de 12 voltios, PRESTOLITE MDL-1063S, MDL2012CS, Krauf SHP8621

EX858621

12 voltios

10,71 €
Impuestos incluidos
8,93 € Impuestos excluidos
LIVRAISON 24/48H
Cantidad
AGOTADO

 

 

  Política de entrega

(editar con el módulo de Información de seguridad y confianza para el cliente)

  Política de seguridad

(editar con el módulo de Información de seguridad y confianza para el cliente)

  Política de devolución

(editar con el módulo de Información de seguridad y confianza para el cliente)

Descripción

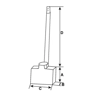
ESPECIFICACIONES:

Especificaciones eléctricas
Voltaje     12

Especificaciones físicas
A     Longitud mm     10,00
B     Espesor mm     8,50
C     Altura mm     17,50
D     Longitud del cable mm     46,55

REEMPLAZA LAS SIGUIENTES REFERENCIAS:

Prestolite: 17-39, MDL - 1063S, MDL-2012CS.
Waiglobal: 68-620, 68-621.
Carga: EX85-862/1, EX85862/1.
Krauf: SHP8621.   

Detalles de producto
EX858621
Nuevo

Ficha de datos

Tensión
12 Volts

Referencias específicas

upc
400000053219
ean13
4000000053149