SITE INTERNET 100% FRANÇAIS / PARTICULIERS & PROFESSIONNELS 

Conjunto de escovas, Magneti marelli 63223039, 63293039
  • Conjunto de escovas, Magneti marelli 63223039, 63293039
  • Conjunto de escovas, Magneti marelli 63223039, 63293039

Conjunto de escovas, Magneti marelli 63223039, 63293039

JSX43-45-444

ESCOVAS/CARVÃO

8,28 €
Com IVA
6,90 € Sem IVA
LIVRAISON 24/48H
Quantidade
EM ESTOQUE - ENTREGA 24/48 HORAS

Order now and receive it...

amanhã  with  TRAITEMENT PRIORITAIRE : Express à domicile J+1 avant 13h

between amanhã and 03/04/26  with  UPS - Domicile / Entreprise

between amanhã and 03/04/26  with  DPD

between 02/04/26 and 06/04/26  with  UPS - Pick up Europe

between 02/04/26 and 06/04/26  with  UPS - Relais Pick Up

between 02/04/26 and 07/04/26  with  Livraison vers des relais Pickup en France et en Europe

 

 

  Política de expedição

(editar com o módulo Customer Reassurance)

  Política de segurança

(editar com o módulo Customer Reassurance)

  Política de devolução

(editar com o módulo Customer Reassurance)

Descrição

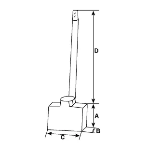
ESPECIFICAÇÕES:

Especificações elétricas
Tensão     12

Especificações físicas
A     Comprimento mm     19,50
B     Espessura mm     7,00
C     Altura mm     13,00
D     Comprimento do cabo 2 mm     28,00
D     Comprimento do cabo mm     65,00

Mais informações
Para     E80E

SUBSTITUI AS SEGUINTES REFERÊNCIAS:

Ika: 0.1478.1.
Magneti Marelli: 83225820, 83225822, 83225823, 83225824.
Carga: JSX4345444.
Krauf: SHE5444.

COMPATÍVEL COM OS SEGUINTES STARTERS:

Magneti marelli: 63223039, 63293039.

Detalhes do produto
JSX43-45-444
Novo

Ficha de dados

Tensão
12 Volts

Referências Específicas

upc
400000142616
ean13
4000000142546