
Starter 12V 2,8 kW 10derts Lucas 26025110a, 27564, 27564a, 27564f
(bearbeiten im Modul "Kundenvorteile")
(bearbeiten im Modul "Kundenvorteile")
(bearbeiten im Modul "Kundenvorteile")
Merkmale:
Elektrische Informationen
Spannung 12
KW 2.8
Physikalische Informationen
H Nr. Det. DET 10
P -Rotation CW
N Typ Crown DD
Eine Kolbenmontage 89,00
I B+ M8
Nr. 3 10.70
f Abstand/Heck 226.00
g Distanz/vordere 95.00
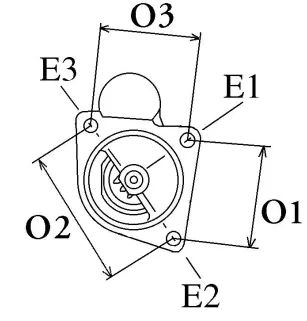
o Entfernung MM 90.00
o Entfernung 2 127.00
O Distanz 3 90.00
r Gesamtlänge mm 340.00 {{{{{{{
Starter 12V 2,8 kW 10derts Lucas 26025110a, 27564, 27564a, 27564f
check_circle
check_circle