
Artikel-Nr.: 776011 - 063.000.335
BÜRSTEN/KOHLE - VALEO
(bearbeiten im Modul "Kundenvorteile")
(bearbeiten im Modul "Kundenvorteile")
(bearbeiten im Modul "Kundenvorteile")
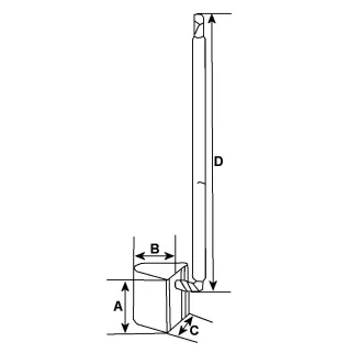
SPEZIFIKATIONEN:
Elektrische Spezifikationen
Spannung 12
Physikalische Spezifikationen
A Länge mm 15,50
B Dicke mm 3,90/6,40
C Höhe mm 10,00
D Kabellänge 2 mm 24,00
D Kabellänge mm 38,50
Weitere Informationen
Bemerkungen 2 Komponenten.
ERSETZT DIE FOLGENDEN REFERENZEN:
Ika: 0.1743.1.
Valeo: 191771, 191849.
Fracht: PSX166-167, PSX1661674.
Krauf: SHV1674.
Mario Ghibaudi: SPSX-166-167.
KOMPATIBEL MIT DEN FOLGENDEN STARTERN:
Valeo: D6G1, D6G2, D6G3, D6G5.
Artikel-Nr.: 776011 - 063.000.335
BÜRSTEN/KOHLE - VALEO
check_circle
check_circle